霍尔油门是什么原理_电动车霍尔是什么样子
原理图集原理 2025-02-17 17:39
霍尔元件在汽车安全带扣和电子油门踏板中是如何应用的
霍尔电压传感器原理详解及特点分析
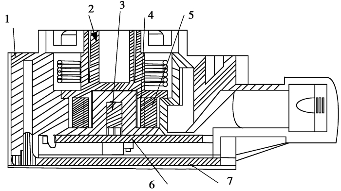
霍尔油门位置传感器
技术专区 新闻资讯 霍尔电流传感器 霍尔传感器, 电流传感器, 南京奇霍科技有限公司
传感器的组成 传感器原理及应用
霍尔效应资讯
霍尔传感器原理
什么是霍尔效应 简述霍尔电流表的工作原理
霍尔电流传感器工作原理
电动车电机上的霍尔传感器的工作原理是什么 有什么品牌推荐一下
oh44e霍尔单极开关电路
霍尔电压传感器原理是什么 霍尔电压传感器应用
电动车电机上的霍尔传感器的工作原理是什么 有什么品牌推荐一下
电子油门的工作原理
霍尔元件的后置油门优化设计
什么是霍尔效应 霍尔开环 闭环电流传感器工作原理
什么是霍尔效应 霍尔开环 闭环电流传感器工作原理
磁感应式转速传感器电路
霍尔元件的后置油门优化设计
霍尔元件的后置油门优化设计
汽车上有哪些配置听起来很高端,原理其实很简单


















